Przejdź do treściPrzejdź do informacji o dostępnościMenu skrótów klawiszowych
Logo OpenStax
Fizyka dla szkół wyższych. Tom 2

8.2 Łączenie szeregowe i równoległe kondensatorów

Fizyka dla szkół wyższych. Tom 28.2 Łączenie szeregowe i równoległe kondensatorów
Wyszukaj kluczowe pojęcia lub tekst.

Cel dydaktyczny

W tym podrozdziale nauczysz się:
  • obliczać różnicę potencjałów i ładunek zgromadzony na okładkach połączonych kondensatorów;
  • wyznaczać pojemność zastępczą kondensatorów połączonych szeregowo i równolegle.

W wielu zastosowaniach wygodnie jest użyć więcej niż jednego kondensatora. Układ taki zachowuje się jak pojedynczy kondensator o innych właściwościach. Jego całkowita pojemność zależy od pojemności poszczególnych kondensatorów oraz od sposobu ich połączenia. Istnieją dwie podstawowe metody łączenia kondensatorów: łączenie szeregowe (ang. series combination) i łączenie równoległe (ang. parallel combination), dla których łatwo obliczyć pojemność zastępczą. Bardziej złożone układy można budować przez łączenie wielu kondensatorów szeregowo i równolegle.

Łączenie szeregowe kondensatorów

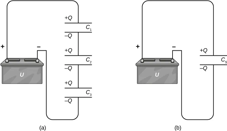
Na Ilustracji 8.11 przedstawiono trzy kondensatory połączone w obwodzie w sposób szeregowy. Tak jak w przypadku pojedynczych kondensatorów pojemność zastępcza ich układu wiąże się z ładunkiem i napięciem zgodnie z Równaniem 8.1. Po podłączeniu układu kondensatorów połączonych szeregowo do akumulatora o napięciu UU na okładkach każdego z nich gromadzi się identyczny ładunek QQ. Aby zrozumieć, dlaczego tak się dzieje, musimy pamiętać, że ładunek na okładce połączonej z dodatnim biegunem akumulatora wynosi +Q+Q, a ładunek na okładce połączonej z biegunem ujemnym wynosi QQ. Następnie na pozostałych okładkach ładunki indukują się w taki sposób, aby ich całkowita suma w obwodzie oraz suma na każdej sąsiadującej parze okładek była równa zero. Spadek potencjału U1=QC1U1=QC1 na jednym kondensatorze nie musi być jednak równy spadkowi potencjału U2=QC2U2=QC2 na innym kondensatorze, ponieważ mogą one mieć różne pojemności elektryczne. Połączenie szeregowe dwóch lub większej liczby kondensatorów jest tożsame z pojedynczym kondensatorem (zastępczym), którego pojemność (zwana pojemnością zastępczą (ang. equivalent capacitance)) jest mniejsza od najmniejszej z pojemności łączonych kondensatorów. Ładunek na takim kondensatorze zastępczym równa się ładunkowi na każdym z kondensatorów w układzie.

Rysunek a pokazuje kondensatory o pojemnościach C z indeksem dolnym 1, C z indeksem dolnym 2 i C z indeksem dolnym 3 połączone szeregowo z akumulatorem o napięciu V. Na okładkach każdego z nich ładunki wynoszą plus Q i minus Q. Rysunek b pokazuje kondensator zastępczy o pojemności C z indeksem dolnym S podłączony do akumulatora o napięciu V. Na jego okładkach ładunki również wynoszą plus Q i minus Q.
Ilustracja 8.11 (a) Trzy kondensatory połączone szeregowo. Wielkość ładunku na każdej z okładek wynosi QQ. (b) Układ kondensatorów w części (a) jest równoważny jednemu kondensatorowi o ładunku QQ i o pojemności mniejszej od pojemności każdego z kondensatorów składowych.

Wyrażenie na pojemność zastępczą układu można uzyskać na podstawie analizy napięcia na każdym z kondensatorów. Spadki potencjału na kondensatorach 1, 2 i 3 to odpowiednio U1=QC1U1=QC1, U2=QC2U2=QC2 i U3=QC3U3=QC3. Muszą się one sumować do napięcia na akumulatorze, co daje równość

U=U1+U2+U3.U=U1+U2+U3.

Na kondensatorze zastępczym o ładunku QQ i pojemności zastępczej CSCS napięcie wynosiłoby UU. Po podstawieniu wyrażenia na U1U1, U2U2 i U3U3, otrzymamy

QCS=QC1+QC2+QC3.QCS=QC1+QC2+QC3.

Po skróceniu przez ładunek QQ otrzymamy wyrażenie na pojemność zastępczą CSCS trzech kondensatorów połączonych szeregowo

1CS=1C1+1C2+1C3.1CS=1C1+1C2+1C3.

Wyrażenie to można uogólnić, by odnosiło się do dowolnej liczby kondensatorów połączonych szeregowo.

Łączenie szeregowe

Dla kondensatorów połączonych szeregowo odwrotność pojemności zastępczej jest równa sumie odwrotności pojemności kondensatorów składowych

1CS=1C1+1C2+1C3+1CS=1C1+1C2+1C3+
8.7

Przykład 8.4

Pojemność zastępcza układu kondensatorów połączonych szeregowo

Obliczmy pojemność zastępczą dla trzech kondensatorów połączonych szeregowo, wiedząc, że ich pojemności wynoszą 1µF1µF, 5µF5µF i 8µF8µF.

Strategia rozwiązania

Ponieważ układ składa się tylko z trzech kondensatorów, jego pojemność zastępczą możemy obliczyć z Równania 8.7 dla trzech składowych.

Rozwiązanie

Podane pojemności podstawiamy do Równania 8.7
1CS=1C1+1C2+1C3=11µF+15µF+18µF= 1,325 1µF.1CS=1C1+1C2+1C3=11µF+15µF+18µF= 1,325 1µF.

Następnie odwracamy wynik i otrzymujemy

CS=1µF1,325=0,755µF.CS=1µF1,325=0,755µF. C_{\text{S}} = \frac{\SI{1}{\micro\farad}}{\num{1,325}} = \SI{0,755}{\micro\farad} \text{.}

Znaczenie

Zauważmy, że dla układu kondensatorów połączonych szeregowo wypadkowa pojemność jest zawsze mniejsza niż najmniejsza z pojemności kondensatorów składowych.

Łączenie równoległe kondensatorów

Na Ilustracji 8.12 (a) przedstawiono układ trzech kondensatorów połączonych równolegle. Jedna okładka każdego z nich podłączona jest do jednego bieguna akumulatora, druga zaś do drugiego. Ponieważ kondensatory są połączone równolegle, to na każdym z nich występuje takie samo napięcie UU, jednakże zgromadzone ładunki mogą być różne. Aby obliczyć pojemność zastępczą CRCR układu, musimy uwzględnić fakt, że całkowity ładunek QQ jest sumą ładunków na poszczególnych kondensatorach

Q=Q1+Q2+Q3.Q=Q1+Q2+Q3.

Lewą stronę tego wyrażenia przekształcamy zgodnie z zależnością Q=CRUQ=CRU dla układu jako całości. Po prawej stronie wykorzystujemy zależności Q1=C1UQ1=C1U, Q2=C2UQ2=C2U oraz Q3=C3UQ3=C3U dla każdego z kondensatorów z osobna. W ten sposób otrzymujemy

CRU=C1U+C2U+C3U.CRU=C1U+C2U+C3U.

Po skróceniu przez UU równanie to opisuje pojemność zastępczą układu trzech kondensatorów połączonych równolegle

CR=C1+C2+C3.CR=C1+C2+C3.

Łatwo uogólnić je do postaci dla dowolnej liczby kondensatorów połączonych równolegle.

Łączenie równoległe

Dla kondensatorów połączonych równolegle pojemność zastępcza jest sumą pojemności wszystkich kondensatorów

CR=C1+C2+C3+CR=C1+C2+C3+
8.8
Rysunek a pokazuje układ trzech równolegle połączonych kondensatorów o pojemnościach C z indeksem dolnym 1, C z indeksem dolnym 2 i C z indeksem dolnym 3 podłączony do akumulatora o napięciu V. Ładunki na okładkach kondensatorów o pojemnościach C z indeksem dolnym 1, C z indeksem dolnym 2 i C z indeksem dolnym 3 wynoszą odpowiednio plus Q z indeksem dolnym 1, plus Q z indeksem dolnym 2 i plus Q z indeksem dolnym 3, a na przeciwnych okładkach: minus Q z indeksem dolnym 1, minus Q z indeksem dolnym 2 i minus Q z indeksem dolnym 3. Rysunek b przedstawia kondensator zastępczy o pojemności C z indeksem dolnym R równej sumie pojemności C z indeksem dolnym 1, C z indeksem dolnym 2 i C z indeksem dolnym 3. Ładunki na jego okładkach wynoszą plus Q i minus Q, co stanowi sumę odpowiednio dodatnich i ujemnych ładunków Q z indeksem dolnym 1, Q z indeksem dolnym 2 i Q z indeksem dolnym 3.
Ilustracja 8.12 (a) Trzy kondensatory połączone równolegle. Każdy z nich jest podłączony bezpośrednio do akumulatora. (b) Ładunek na kondensatorze zastępczym stanowi sumę ładunków na poszczególnych kondensatorach.

Przykład 8.5

Pojemność zastępcza układu kondensatorów połączonych równolegle

Obliczmy pojemność zastępczą dla trzech kondensatorów połączonych równolegle, wiedząc, że ich pojemności wynoszą 1µF1µF, 5µF5µF i 8µF8µF.

Strategia rozwiązania

Ponieważ układ składa się tylko z trzech kondensatorów, jego pojemność zastępczą możemy obliczyć z Równania 8.8 dla trzech składowych.

Rozwiązanie

Po podstawieniu podanych pojemności do Równania 8.8 otrzymamy
CR=C1+C2+C3=1µF+5µF+8µF=14µF.CR=C1+C2+C3=1µF+5µF+8µF=14µF. C_{\text{R}} = C_1 + C_2 + C_3 = \SI{1}{\micro\farad} + \SI{5}{\micro\farad} + \SI{8}{\micro\farad} = \SI{14}{\micro\farad} \text{.}

Znaczenie

Zauważmy, że dla układu kondensatorów połączonych równolegle pojemność jest zawsze większa niż pojemność każdego z kondensatorów składowych.

Łączenie równoległe i szeregowe kondensatorów

Układy kondensatorów to najczęściej zestawienia kondensatorów połączonych szeregowo i równolegle, tak jak na Ilustracji 8.13. Aby obliczyć pojemność zastępczą takich układów, należy odszukać podukłady, w których występuje tylko jeden typ łączenia, i wyliczyć ich pojemności zastępcze. Następnie proces powtarza się aż do momentu, gdy będzie możliwe ustalenie pojemności zastępczej całego układu. Proces ten przedstawiono na poniższym przykładzie.

Rysunek a przedstawia kondensatory układ, na którym kondensator o pojemności C z indeksem dolnym 3 równa się 8 mikrofaradów jest połączony równolegle z parą kondensatorów połączonych szeregowo. Kondensatory te mają pojemności C z indeksem dolnym 1 równa się 1 mikrofarad i C z indeksem dolnym 2 równa się 5 mikrofaradów. Strzałka prowadzi do Rysunku b, na którym ta sama sytuacja przedstawiona jest po zamianie kondensatorów o pojemnościach C z indeksem dolnym 1 i C z indeksem dolnym 2 na kondensator o pojemności zastępczej C z indeksem dolnym S. Strzałka prowadzi do Rysunku c, na którym pozostałe dwa kondensatory połączone równolegle zostały zastąpione jednym kondensatorem o pojemności C z indeksem dolnym tot równa się C z indeksem dolnym S plus C z indeksem dolnym 3.
Ilustracja 8.13 (a) Układ składa się z kondensatorów łączonych zarówno szeregowo, jak i równolegle. (b) Kondensatory C1C1 i C2C2 są połączone szeregowo; ich pojemność zastępcza wynosi CSCS. (c) Kondensator zastępczy CSCS jest połączony równolegle z kondensatorem C3C3, a więc pojemność zastępcza całego układu CrwCrw to suma CSCS i C3C3.

Przykład 8.6

Pojemność zastępcza układu kondensatorów

Obliczmy pojemność zastępczą układu kondensatorów przedstawionego na Ilustracji 8.13. Odpowiedź zaokrąglimy do trzech miejsc po przecinku.

Strategia rozwiązania

Najpierw sprawdzamy, które kondensatory są połączone szeregowo, a które równolegle. Kondensatory C1C1 i C2C2 są połączone szeregowo. Ich kondensator zastępczy o pojemności CSCS jest połączony równolegle z kondensatorem C3C3.

Rozwiązanie

C1C1 i C2C2 są połączone szeregowo, zatem ich pojemność zastępczą CSCS możemy obliczyć z Równania 8.7
1CS=1C1+1C2=11µF+15µF=1,21µFCS=0,833µF.1CS=1C1+1C2=11µF+15µF=1,21µFCS=0,833µF.

Kondensator zastępczy CSCS jest połączony równolegle z kondensatorem C3C3, zatem aby obliczyć pojemność zastępczą CrwCrw C_{\text{rw}} dla całego układu, stosujemy Równanie 8.8

Crw=CS+C3=0,833µF+8µF=8,833µF.Crw=CS+C3=0,833µF+8µF=8,833µF. C_{\text{rw}} = C_{\text{S}} + C_3 = \SI{0,833}{\micro\farad} + \SI{8}{\micro\farad} = \SI{8,833}{\micro\farad} \text{.}

Przykład 8.7

Układ kondensatorów

Obliczmy pojemność zastępczą CC układu kondensatorów przedstawionego na Ilustracji 8.14, jeśli ich pojemności wynoszą C1=12µFC1=12µF, C2=2µFC2=2µF i C3=4µFC3=4µF. Obliczmy także ładunek i napięcie na każdym z kondensatorów, jeśli układ podłączony jest do napięcia 12V12V.
Rysunek a pokazuje układ kondensatorów, w których kondensator o pojemności C z indeksem dolnym 1 jest połączony szeregowo z połączonymi równolegle kondensatorami o pojemnościach C z indeksem dolnym 2 i C z indeksem dolnym 3. Rysunek b pokazuje równoważny układ kondensatorów, w którym kondensator C z indeksem dolnym 1 jest połączony szeregowo z kondensatorem o pojemności C z indeksem dolnym 2 plus C z indeksem dolnym 3. Na obu rysunkach układ kondensatorów podłączony jest do źródła prądu o napięciu 12 woltów.
Ilustracja 8.14 (a) Układ kondensatorów. (b) Równoważny układ dwóch kondensatorów.

Strategia rozwiązania

Najpierw należy obliczyć pojemność zastępczą C23C23 równoległego połączenia kondensatorów C2C2 i C3C3. Pojemność całkowita CC jest wtedy pojemnością zastępczą szeregowo połączonych kondensatorów o pojemnościach C1C1 i C23C23. Z równości C=QUC=QU wyliczamy ładunki Q1Q1, Q2Q2 i Q3Q3 oraz napięcia U1U1, U2U2 i U3U3 odpowiednio na kondensatorach o pojemnościach C1C1, C2C2 i C3C3.

Rozwiązanie

Pojemność zastępcza dla kondensatorów C2C2 i C3C3 wynosi
C23=C2+C3=2µF+4µF=6µF.C23=C2+C3=2µF+4µF=6µF.

Cały układ trzech kondensatorów jest równoważny szeregowemu połączeniu dwóch kondensatorów C1C1 i C23C23, a więc

1C=112µF+16µF=14µFC=4µF.1C=112µF+16µF=14µFC=4µF.

Rozważmy równoważny układ dwóch kondensatorów przedstawiony na Ilustracji 8.14 (b). Kondensatory połączone są szeregowo, dlatego mają na okładkach równe ładunki Q1=Q23Q1=Q23. Podłączone są do jednego źródła prądu, a więc

12V=U1+U23=Q1C1+Q23C23=Q112µF+Q16µFQ1=48µC.12V=U1+U23=Q1C1+Q23C23=Q112µF+Q16µFQ1=48µC.

Różnica potencjałów na okładkach kondensatora C1C1 wynosi

U1=Q1C1=48µC12µF=4V.U1=Q1C1=48µC12µF=4V.

Ponieważ kondensatory C2C2 i C3C3 są połączone równolegle, napięcie jest na nich jednakowe

U2=U3=12V4V=8V.U2=U3=12V4V=8V.

Ładunki na nich wynoszą więc odpowiednio

Q2=C2U2=2µF8V=16µC,Q3=C3U3=4µF8V=32µC.Q2=C2U2=2µF8V=16µC,Q3=C3U3=4µF8V=32µC.

Znaczenie

Zgodnie z przypuszczeniami ładunek na układzie połączonych równolegle kondensatorów C2C2 i C3C3 wynosi Q23=Q2+Q3=48µCQ23=Q2+Q3=48µC.

Sprawdź, czy rozumiesz 8.5

Oblicz pojemność zastępczą dla każdego z przedstawionych poniżej układów kondensatorów. Załóż, że C1=1pFC1=1pF, C2=2pFC2=2pF, C3=4pFC3=4pF i C4=5pFC4=5pF. Oblicz ładunek na każdym z kondensatorów przy założeniu, że każdy z układów podłączony jest do źródła prądu o różnicy potencjałów 12V12V.

Rysunek a przedstawia układ kondensatorów, w którym kondensator C z indeksem dolnym 1 połączony jest szeregowo z podukładem połączonych równolegle kondensatorów C z indeksem dolnym 2 i C z indeksem dolnym 3. Rysunek b przedstawia układ, w którym połączone szeregowo kondensatory C z indeksem dolnym 2 i C z indeksem dolnym 3 są połączone równolegle z kondensatorem C z indeksem dolnym 1. Rysunek c przedstawia układ, w którym równolegle połączone kondensatory C z indeksem dolnym 1 i C z indeksem dolnym 2 są połączone szeregowe z drugą parą kondensatorów połączonych równolegle: C z indeksem dolnym 3 i C z indeksem dolnym 4.
Cytowanie i udostępnianie

Ten podręcznik nie może być wykorzystywany do trenowania sztucznej inteligencji ani do przetwarzania przez systemy sztucznej inteligencji bez zgody OpenStax lub OpenStax Poland.

Chcesz zacytować, udostępnić albo zmodyfikować treść tej książki? Została ona wydana na licencji Uznanie autorstwa (CC BY) , która wymaga od Ciebie uznania autorstwa OpenStax.

Cytowanie i udostępnienia
  • Jeśli rozpowszechniasz tę książkę w formie drukowanej, umieść na każdej jej kartce informację:
    Treści dostępne za darmo na https://openstax.org/books/fizyka-dla-szk%C3%B3%C5%82-wy%C5%BCszych-tom-2/pages/1-wstep
  • Jeśli rozpowszechniasz całą książkę lub jej fragment w formacie cyfrowym, na każdym widoku strony umieść informację:
    Treści dostępne za darmo na https://openstax.org/books/fizyka-dla-szk%C3%B3%C5%82-wy%C5%BCszych-tom-2/pages/1-wstep
Cytowanie

© 21 wrz 2022 OpenStax. Treść książki została wytworzona przez OpenStax na licencji Uznanie autorstwa (CC BY) . Nazwa OpenStax, logo OpenStax, okładki OpenStax, nazwa OpenStax CNX oraz OpenStax CNX logo nie podlegają licencji Creative Commons i wykorzystanie ich jest dozwolone wyłącznie na mocy uprzedniego pisemnego upoważnienia przez Rice University.